行业资讯根据知名网站NR上公布消息称,尼康已于近日在日本公布了一项新镜头专利,该镜头同样具备F1.8的大光圈,专利号为201048125。目前除了这支135mm专利外,尼康已有多支采用1.8大光圈的镜头专利及产品,比如:18mm、20mm、24mm、28mm、35mm、50mm和85mm。

尼康135mm f1.8镜头专利
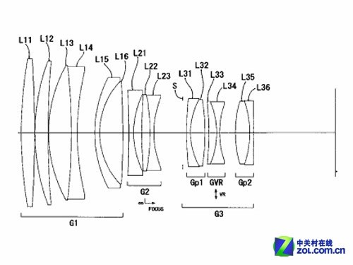
尼康135mm f1.8镜头专利详情:
·专利发布日期:2012年3月8日
·专利申请日期:2012年8月30日
·焦距:132.9mm
·口径:1.8
·视角:18.3°
·结构设计:9组15片,2枚ED镜片
·内部对焦(IF)
·VR防抖
尼康这些具备1.8大光圈的镜头很有可能会在年内推出,所以还是相当值得期待的!
粤公网安备 44010602002075号